Zum Hauptinhalt springen Zur Suche springen Zur Hauptnavigation springen

Menü

Beschreibung

Produktinformationen "Norres Lüftungsschlauch + Absaugschlauch, bis 110°C, DN 170mm, L= 3m, CP PVC 465"

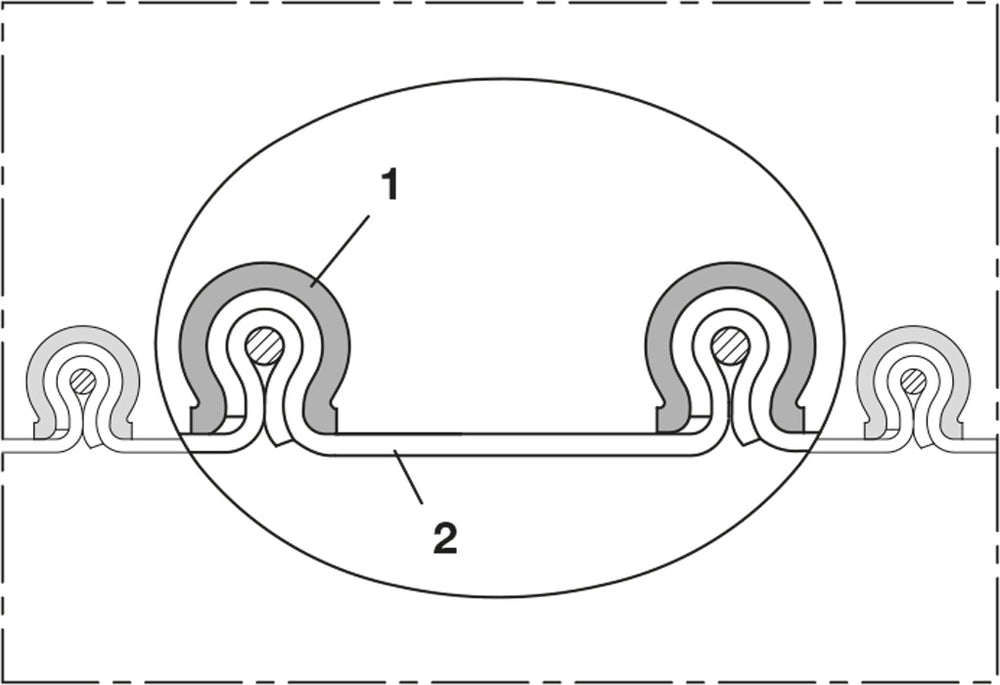
PVC Klemmprofilschlauch, (bis +11°C) Anwendungen: - flexibler Schlauch für Gase und für Stäube, Pulver, Fasern - Schweißrauchabsaugung - Absaugarm Eigenschaften: - gewebeverstärkt - Scheuerschutz durch äußeres Klemmprofil - zugfeste Verklemmung der Wandung im Klemmprofil - hochflexibel + stauchbar - gute Laugen- und Säurenbeständigkeit - gute Chemikalienbeständigkeit - schwerentflammbar nach: NF P 92-53 M2 - RoHS konform Temperaturbereich: - -1°C bis 8°C - kurzzeitig bis 11°C

Bewertungen 0

0 von 0 Bewertungen

Durchschnittliche Bewertung von 0 von 5 Sternen

Bewerten Sie dieses Produkt!

Teilen Sie Ihre Erfahrungen mit anderen Kunden.