NORRES
Norres Hochtemperaturschlauch, hitzebeständig (+450°C), DN 50mm, L= 6m, CP HiTex 480
0,00 €
Produktnummer:
11276123
Lagerbestand:
1
Hersteller:
NORRES
Beschreibung
Produktinformationen "Norres Hochtemperaturschlauch, hitzebeständig (+450°C), DN 50mm, L= 6m, CP HiTex 480"
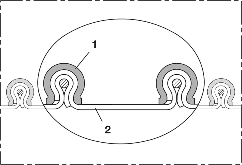
Hochtemperaturschlauch, Klemmprofilschlauch, (bis +45°C)
Anwendungen:
- flexibler Schlauch für heiße und kalte Gase
- Hochtemperaturabsaugung: Ofen, Gießerei, Hochofen, Schmelze, Keramikindustrie, Glasindustrie, Stahlwerk, Aluminiumhütte
- Dunkelstrahler, Deckenheizungen: Heißluftführung
Eigenschaften:
- sehr gut bei Funkenflug und Schweißspritzern
- Scheuerschutz durch äußeres Klemmprofil
- zugfeste Verklemmung der Wandung im Klemmprofil
- hochflexibel + stauchbar 3:1
- sehr gut hitzebeständig
- schwerentflammbar nach: DIN 412-B1
- RoHS konform
Temperaturbereich:
- -6°C bis 4°C
- kurzzeitig bis 45°C
Bewertungen 0
Anmelden
Keine Bewertungen gefunden. Teilen Sie Ihre Erfahrungen mit anderen.